fbpx
Category
Drug Delivery, Electrical Engineering
About This Project

Pharma Client

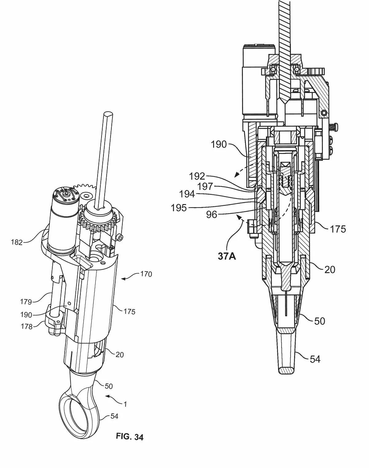
Personal Drug Delivery Device

Creating a power-assisted drug injector about the size of a flashlight enables patients to achieve therapy in their own home. Key Tech collaborated with an international team of experts to learn the users’ needs and respond to them with thoughtful, accessible and safe design. The team prototyped and tested an electro-mechanical system that recognizes the patient, confirms the proper medication, delivers it safely, and uses battery power wisely.

Link to Patent

Every challenge is different – Tell us about yours.